您當前的位置:首頁 >> 技術 >> 原輔材料 » 正文
PET回收料改性再生透水混凝土性能的研究
  瀏覽次數:9020  發布時間:2024年07月03日 14:14:58
[導讀] 利用聚對苯二甲酸乙二醇酯(PET )回收料制備再生透水路面材料。通過在透水混凝土中添加不同摻量PET回收料制備了再生透水混凝土并研究其性能。結果表明 :摻入不同摻量PET再生骨料的再生透水混凝土表現 出了較高的孔隙率與較低的密度
 喬運昌 鄭榮榮 程汝超 劉寶威 曲 淼 李繼新*
(沈陽工業大學石油化工學院,遼陽. 111003)

摘要 利用聚對苯二甲酸乙二醇酯(PET )回收料制備再生透水路面材料。通過在透水混凝土中添加不同摻量PET回收料制備了再生透水混凝土并研究其性能。結果表明 :摻入不同摻量PET再生骨料的再生透水混凝土表現 出了較高的孔隙率與較低的密度;摻入不同摻量PET再生骨料的再生透水混凝土滿足力學性能標準值 ,并且在PET (G )-10達到最高 ,抗折強度和抗壓強度分別為4.03MPa和25.1MPa ;摻入不同摻量PET再生骨料的再生透水混凝 土的透水性能均高于標準值,擁有良好的透水性能,在保證力學性能滿足標準的同時,PET (S )-30和PET (G )-50的透 水系數分別為8.5mm/s和8.4mm /s 。因此,摻入不同摻量PET再生骨料的再生透水混凝土具有較好的綜合性能 , 可以滿足建筑行業的使用要求。

關鍵詞 再生透水混凝土,聚對苯二甲酸乙二醇酯回收料 ,透水系數,力學性能

聚對苯二甲酸乙二醇酯(PET)在生活中的廣泛 應用導致其產生了大量的廢棄物,處理這些廢棄物 已經成為當務之急[1]。近年來的研究表明[2],將再生PET廢棄物回收后應用于透水混凝土中,可以制 備出成本低廉、性能優異的再生透水混凝土復合材 料,但在實際應用中,PET回收料作為有機高分子材料,替代混凝土粗骨料制備混凝土時力學性能提 升不明顯[3-4],同時透水混凝土的力學性能本身較差在透水混凝土中使用再生塑料作為骨料替代原有的天然骨料很少有人嘗試[5]。再生塑料骨料通常具有 輕質和多孔的特性,在透水混凝土中可以有效地改 善混凝土的孔隙結構[6-7]。這有助于增加混凝土的 孔隙率,使水分更容易穿過混凝土表面。因此,將其處理后作為粗骨料摻入路面材料中是一種有效的解決措施。

本實驗以廢棄的PET回收料作為再生骨料,一 方面是為了將PET廢料資源化利用,另一方面是對 建設海綿城市[8]做出努力。采用PET廢絲摩擦造 粒和切片分別應用于透水混凝土,部分替代天然的 碎石骨料,研究不同PET摻量對再生塑料透水混凝土復合材料性能的影響,從而為處理PET廢棄物提 供了一種新的方法。

1 實驗部分
1.1 主要試劑與儀器
泥(P.I42.5硅酸鹽水泥),撫順水泥股份有限 公司;透水砼增強劑,南京海??萍加邢薰?骨料: 碎石(粒徑5~10mm,堆積密度1779kg/m3,壓碎指 標9.6%);廢棄聚酯回收料切片(PET(S),堆積密 度322.2kg/m3,片狀);廢絲聚酯回收料摩擦造粒顆 粒(PET(G),堆積密度460.7kg/m3,顆粒狀)。

單臥軸混凝攪拌機(HJW-60型),無錫建筑實 驗儀器廠;微機控制電子萬能試驗機(CMT5105 型),深圳市新三思計量技術有限公司;透水系數測 試裝置,自主設計。  

1.2 樣品制備及方法
表1為再生透水混凝土配合比。采用單臥軸混 凝攪拌機,制備過程中先將碎石、再生骨料、水泥、增強劑按照表1配比投入攪拌機攪拌1min(加入 10%、20%、30%、40%、50%的PET部分替代碎 石),材料均勻混合后加入水,攪拌均勻后裝入相應的模具,先插搗后振搗,24h后拆模后立即放入溫度 為(20±2)℃,相對濕度90%以上的標準養護室中 養護。

 表1 再生透水混凝土配合比

 1.3 性能測試與表征
壓強度測試:按 GB / T50081—2002 進行測 試,樣品尺寸為100mm×100mm×100mm,實驗速 率為0.5MPa/s[9]。
抗折強度測試:按GB/T50081—2002進行測 試,樣品尺寸為100mm×100mm×300mm,加載速率為0.05MPa/s。
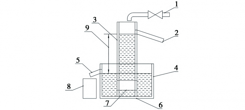
透水系數測試:按照CJJ/T135—2009進行測 試,樣品尺寸為圓柱形,底面直徑為100mm,高 50mm[10],測試裝置圖如圖1所示。
壓強度測試:按 GB / T50081—2002 進行測 試,樣品尺寸為100mm×100mm×100mm,實驗速 率為0.5MPa/s[9]。
抗折強度測試:按GB/T50081—2002進行測 試,樣品尺寸為100mm×100mm×300mm,加載速率為0.05MPa/s。
透水系數測試:按照CJJ/T135—2009進行測 試,樣品尺寸為圓柱形,底面直徑為100mm,高 50mm[10],測試裝置圖如圖1所示。
圖1 拷貝
圖1 透水系數測定裝置圖
 
先將試樣通過保鮮膜和凡士林密封在圓筒內, 再測試保持150mm水位差時5min流過試件的水 量按式(1)進行計算。


式中,kT為試樣透水系數,mm/s;T為水 溫,℃;Q為t秒內收集的水量,mm3;L為試件的厚 度,mm;A為試樣表面積,mm2;H為水位差,mm; t為時間,s。
物理性質測試:按照CJJ / T253 — 2016、GB / T 500821—2019和ASTM-C20[11]進行測試,樣品尺寸100mm×100mm×100mm,透水混凝土試件養 護到齡期之后拿出,將試件放在烘箱中烘至衡重,設 定溫度為(105±5)℃。取出后放在陰涼干燥環境中冷卻至室溫,稱取質量(m1,g),量取試件的尺寸并 計算出其體積(V,cm3)。將透水混凝土試件完全浸 泡在水中,浸泡1d后測量試件在水中的質量(m2, g),用擰干的濕毛巾試件擦去表面水分,稱量記錄試 件質量(m3,g)[12]。試件的連續孔隙率(P,%)、吸 水率(W,%)、真實密度(T,g/cm3)、表觀密度(B, g/cm3)分別按式(2—5)計算。 
圖片1 拷貝
式中,ρ為水的密度,g/cm3。

2 結果與討論
2.1 再生透水混凝土的物理性質分析
表2為不同摻量PET制備再生透水混凝土的物理性質。

表2 再生透水混凝土的物理性質
 
從表2可以看出,隨著再生骨料體積替代率的增大,再生透水混凝土的孔隙率也逐漸提高,相比較 空白樣,PET切片和PET廢絲摩擦造粒不同體積 替代率下孔隙率均是先降低后提高,PET(S)-10和 PET(G)-10降低可能是因為少量的再生骨料摻入 時切片的不規則性使孔隙變小,隨著大量的PET切 片摻入PET(S)-20、PET(S)-30、PET(S)-40、PET (S)-50的孔隙率分別增加了19.22%、49.32%、 28.23%、18.34%;PET廢絲摩擦造粒PET(G)-20、PET(G)-30、PET(G)-40、PET(G)-50分別增加了 20.90%、36.28%、52.26%、48.90%,這是由于再生骨料與天然骨料性質不同,再生骨料的比重較低,占據的體積相對較大,從而增加了混凝土的孔隙率,且再生骨料和混凝土基體之間界面大小對混凝土孔隙率產生了影響,存在塑料再生骨料與混凝土基體之間的間隙,會導致孔隙率的增加。這兩點原因導致 再生透水混凝土的密實性變差,從而增加了整體的孔隙率[13]。隨著孔隙率的增加,再生混凝土的吸水率也相應上升。此外,隨著再生骨料的添加量增大, 由于再生骨料的密度遠低于天然骨料,因此再生透水混凝土的真實密度和表觀密度都會隨著塑料添加量的增加而減小。

2.2 PET摻量對再生透水混凝土力學性能的影響
PET摻量對再生透水混凝土28d抗壓強度的 影響見圖2。由圖可見,隨著PET摻量不斷增大, PET切片PET(S)和PET廢絲摩擦造粒PET(G) 均呈現下降的趨勢。其中PET摻量為10%時抗壓 強度達到最大值,PET(S)和PET(G)的強度最大值 分別為22.73MPa和25.12MPa。PET(S)在摻量 50%時強度最小,強度最小時為9.54MPa,當PET (S)摻量由0增大到50%時,抗壓強度的降幅依次 為4.03MPa、2.61MPa、3.68MPa、3.63MPa、 3.27MPa;PET(G)在摻量50%時強度最小,強度最 小時為16.42MPa,當PET(G)摻量由0%增大到 50%時,抗壓強度的降幅依次為1.64MPa、 0.78MPa、3.12MPa、2.69MPa、2.11MPa。
圖2 拷貝
圖2 PET摻量對再生透水混凝土28d抗壓強

一結果是由于PET再生骨料的加入,PET 再生骨料不會與水泥發生相互反應,并且PET再生 骨料具有較低的彈性模量,而傳統骨料通常較為剛 硬,這種差異導致混凝土的整體彈性模量降低,從而 影響抗壓強度。這也是由于添加塑料再生骨料可能 導致混凝土中的微觀裂縫和空隙的增加,這些缺陷 會在受到壓縮力時引起局部應力集中,從而減弱混 凝土的抗壓強度[14-16]。根據JC/T2558—2020中 對透水混凝土的抗壓強度最低15.0MPa,PET(G)作為再生骨料摻入后抗壓強度均高于標準值,PET (S)摻量在0~30%也高于標準值,因此制備的再生 透水混凝土可以達到透水混凝土路面材料的要求。

圖3 拷貝
PET摻量對再生透水混凝土28d抗折強度的 影響見圖3。

由圖可見,兩種PET摻量對再生透水混凝土 28d抗折強度的影響與抗壓強度結果類似,隨著摻 量的增加,其中PET(G)-10抗折強度(4.03MPa)高 于空白樣的抗折強度,其余抗折強度逐漸發生下降, 下降最低為PET(S)-50和PET(G)-50,分別從0% 摻量的3.8MPa下降到1.4MPa和1.5MPa。這一結果是由于再生骨料和天然骨料混合后在基體中產生了微小裂縫,再生骨料與混凝土基體之間的黏結 較弱[17-18]。這樣的弱黏結可能導致在加載時產生裂 縫或剝離現象,從而降低整體的抗折強度。根據 JC/T2558—2020中對透水混凝土的抗折強度最低 1.0MPa,PET切片和PET廢絲摩擦造粒摻入后制 備的再生透水混凝土試件抗折強度均高于標準值, 因此滿足規范要求。

2.3 PET摻量對再生透水混凝土透水系數的影響
PET摻量對再生透水混凝土透水系數的影響 見圖4。由圖可見,隨著PET摻量的增加,透水系 數呈現先提高再下降又提高的趨勢,其中PET(S)- 50和PET(G)-50的透水系數最大,分別為 9.9mm/s和8.4mm/s,PET(S)-10和PET(G)-10 的透水系數最小,分別為3.7mm/s和4.2mm/s。 在力學性能滿足標準的同時[19],PET(S)-30和PET(G)-50的透水系數分別為8.5mm/s和 8.4mm/s,相比較于空白樣分別提高了118%和 118%。

總體上,透水系數是隨著PET摻量變大持續上 升,這是因為隨著PET摻量變大,導致透水混凝土 中的微觀裂縫和空隙增加,這些透水孔隙的增加有 助于提高水在混凝土中的滲透速度,從而增大透水 系數[20]。根據JC/T2558—2020中對透水混凝土 透水系數最低要求是0.5mm/s,PET切片和PET廢絲摩擦造粒摻入后制備的再生透水混凝土試件透水系數均高于標準值,因此滿足透水路面材料對透水系數的要求。

圖4 拷貝
圖4 PET摻量對再生透水混凝土透水系數的影響

3 結論
(1)通過不同含量的PET切片和PET廢絲摩 擦造粒摻入到透水混凝土中替代部分天然骨料,制備了透水性能優異的再生透水混凝土。
(2)分別對不同再生透水混凝土進行了物理性質、力學性能以及透水系數的測定,結果表明由于再生骨料的不規則性以及相對于天然骨料的比重較低,其表現出了較大的孔隙率和較低的密度。
(3)摻入不同摻量PET再生骨料的再生透水混 凝土滿足力學性能標準值,并且在PET廢絲回收料 摩擦造粒PET(G)-10達到最高,抗折強度和抗壓強 度分別為4.03MPa和25.1MPa。
(4)在保證再生透水混凝土力學性能符合標準 的同時使其透水系數提高,透水混凝土抗壓強度滿足TC15、抗折強度滿足TZ1.0,PET(S)-30和PET (G)-50均表現出優異的透水性能,透水系數分別為 8.5mm/s和8.4mm/s。

參考文獻
[1] AskarM K,Al-Kamaki YSS,HassanA.Utilizing polyethy-Lene terephthalate PET in concrete:a review[J].Polymers,2023,15(15):3320.
[2] UcheCK A,Abubakar SA .Nnamchi SN.et al.PolyethyleneTerephthalate aggregates in structural lightweight concrete:a meta-analysis and review[J].DiscoverMaterials,2023,3(1):24.
[3] KangavarM E,Lokuge W,Manalo A,etal.Development of Sustainable concrete using recycle dpolyethylene ter ephthalate (PET)granules as fine aggregate[J].Developmentsinthe Built Environment,2023,15:100192. 
[4] Supit S,PriyonoAS,Astanto M.study on pervious concretePaving block containing plastic waste type PET as a sandre placement[J].Proceedings of International Struetural Engineering and Construction,2022,9:2.
[5] 馬海鵬,杜智超,尹迪.再生塑料混凝土復合材料的制備及性能研究[J].塑料科技,2021,49(10):13-16.
[6] GuoY,LiX,Zhang J,etal.A review ontheinfluenceofRecycled plastic aggregate on the engineering properties of concrete[J].Journal of Building Engineering,2023,79:107787.
[7] 代峻峰,李合清,崔永偉,等.海綿城市理論下透水再生骨料混凝土研究進展[J].建筑結構,2021,51(S2):988-994.
[8] 俞孔堅,李迪華,袁弘,等.“海綿城市”理論與實踐[J].城市規劃,2015,39(6):26-36.
[9] 楊傳光,李燦,趙燕華.混凝土中不同聚合物填料對其性能的影響研究[J].塑料科技,2021,49(1):39-42.
[10] 常承艷.再生透水混凝土滲透性能試驗研究[D].鄭州:華北水利水電大學,2018.
[11] Alqahtani FK,Zafar I Exploring the effect of different waste fillersin manufactured sustainable plastic aggregates matrix on the structural lightweight green concrete[J].Sustainabili ty,2023,15(3):2311.
[12] 余意恒.高性能透水混凝土的制備及性能研究[D].重慶:重慶大學,2019
[13] 王棟,方俊華,李忠洪.再生粗骨料中不同聚丙烯纖維體積摻量對再生混凝土力學性能的影響[J].塑料科技,2023,51(6):33-36.
[14] 王傳奇.再生混合骨料透水混凝土力學性能與透水性能的試驗研究[D].徐州:中國礦業大學,2018.
[15] 胡時,徐穎.摻級配良好再生PVC骨料混凝土的力學和吸能性能[J].工程塑料應用,2020,48(1):90-94. 
[16] Supit S W.Utilization of recycled PET plastic waste as re-Placement of coarse aggregate in pervious concrete[J].Materi als Today:Proceedings,2022,66:2990-2995.
[17] 朱云濤.再生骨料透水混凝土物理力學性能試驗研究[D].武漢:湖北工業大學,2020.
[18] Ahdal A Q,Amrani M A,GhalebA A,etal.Mechanical per-Formance and feasibility analysis of green concrete prepared with local natural zeolite and waste PET plastic fibers as ce- mentreplacements[J].CaseStudiesinConstruction Materials,2022,17:e1256.
[19] 楊鋒.利用固廢材料制備透水混凝土及其性能影響因素研究[D].南京:東南大學,2020.
[20] 沈乾洲,丁華柱,舒楊波,等.不同再生骨料透水混凝土的性能研究[J].四川建材,2022,48(1):15-16.