您當前的位置:首頁 >> 技術 >> 注塑 » 正文
多向抽芯汽車空調出風口殼體注塑模具設計
  瀏覽次數:10441  發布時間:2020年11月05日 15:01:26
[導讀] 設計了一種一模一腔兩板注塑模具用于汽車空調出風口殼體塑件的注射成型。針對汽車空調出風口殼體的使用要求,選用聚丙烯作為注塑材料。根據產品性能及工藝特點的要求,對空調出風口殼體的成型結構特征進行深入剖析,選擇采用熱流道兩點進膠的成型方式保證模腔的可靠充填
 閆竹輝,劉斌
華南理工大學聚合物成型加工工程教育部重點實驗室,聚合物新型成型裝備國家工程研究中心,廣州  510640

摘要:設計了一種一模一腔兩板注塑模具用于汽車空調出風口殼體塑件的注射成型。針對汽車空調出風口殼體的使用要求,選用聚丙烯作為注塑材料。根據產品性能及工藝特點的要求,對空調出風口殼體的成型結構特征進行深入剖析,選擇采用熱流道兩點進膠的成型方式保證模腔的可靠充填。針對塑件多處細節特征的脫模難題,設置了多個方向的滑塊抽芯機構實現脫模,并針對產品局部無法一次抽芯完成的細節特征,相應地在滑塊中設置二次抽芯機構、斜導柱液壓組合式二次抽芯機構。此外,在動模側設有16根圓頂桿、1個斜頂以保證制品順利頂出。實踐證明,設計的模具結構合理,動作可靠,成型的塑件質量良好,可為同類塑件的注塑生產提供有益借鑒。
關鍵詞:汽車空調出風口殼體;注塑模具;二次抽芯機構;模具結構

汽車空調出風口殼體具有引導風向、調節風量等功能,屬于整個汽車空調系統中極為重要的一類零件。由于汽車空調出風口殼體需與儀表盤及其它汽車零部件裝配,其外形結構復雜,尺寸精度要求高,給汽車空調出風口殼體注塑模具的設計帶來諸多難點。筆者以某汽車空調出風口殼體為例,針對不同位置處的細節特征,采取了多個方向的滑塊抽芯機構以保證產品順利脫模,有效解決了汽車空調出風口殼體注射成型等難點。

01 塑件結構特點
某汽車空調出風口殼體結構如圖1所示。該塑件材料為金發科技的聚丙烯(PP)TD40,平均收縮率為0.7%。該材料具有耐高溫、耐寒、低收縮、耐沖擊、加工流動性好等特點,廣泛用于汽車、電器、水處理等行業。由UG10.0測得塑件體積為108.9cm3,質量為149.4g,平均壁厚為1.5mm。塑件表面質量要求較高,不能有熔接痕、氣泡和銀紋。為使汽車空調出風口殼體與儀表盤等其它零件精確裝配,要保證尺寸公差為±0.05mm。由圖1可知,汽車空調出風口殼體其外形特征復雜,主體外圍部分存在接插薄壁、吸氣通孔、接插位、盲孔螺柱位、接插條、限位薄壁、定位插孔等特征。此外,空調出風口殼體前端有多段斜槽,內側有直徑為8mm的通孔。這些特征決定了該塑件的成型模具必須進行復雜的內、外側抽芯結構設計[1–3]。
圖 1 某汽車空調出風口殼體結構示意圖

02 注塑模具結構及設計
2.1分型分析
分型面的類型、形狀及位置選擇是否恰當,不僅直接關系到模具結構的復雜程度,而且對注塑成型質量和生產操作等問題都有影響。為了保證制品的質量要求,使其順利脫模,選取制品斷面輪廓最大的部位作為分型面[4–6]。該分型面可使塑件成型收縮后留在型芯上,且便于抽芯,能保證塑件外觀和質量的要求。

基于上述分型設計原則,待產品主分型面設定后,將側抽芯分型區域模具平面設置為4個側抽芯方向,即X+,X–,Y+,Y–方向[7],如圖2a所示。X+側抽芯方向所對應的側抽芯滑塊為N4滑塊,X–側抽芯方向所對應的側抽芯滑塊為N7滑塊,Y+側抽芯方向所對應的側抽芯滑塊為N1,N2,N3滑塊,Y–側抽芯方向所對應的側抽芯滑塊為N5,N6滑塊,其中N1與N6對應、N3與N5對應共同成型Y方向的兩個風口。此外,N1,N3滑塊完成了圖1中制品上、下共12處特征13定位插孔的成型,N1,N3滑塊內部存在制品前端特征8斜槽的二次抽芯滑塊,N5,N6滑塊內部存在制品內側特征15內側通氣孔的二次抽芯滑塊,N2滑塊完成了制品共6處特征7接插條的成型,N4滑塊完成了特征12,17,18的側抽芯,并且N4滑塊內部存在二次抽芯滑塊用以成型與X軸方向存在角度的特征10,11,N7滑塊完成了特征2,3,4的成型,并且N7滑塊內部存在二次抽芯滑塊用以成型圖1中與X軸方向存在角度的特征1,5,如圖2b所示。
圖 2 側抽芯滑塊布局
圖 2 側抽芯滑塊布局2

2.2 模腔布局及制品澆注
塑件為中批量生產,由UG10.0測得塑件外形尺寸為 245mm ×113mm×82mm,產品外形尺寸較大,并且考慮到制品四周都存在側抽芯機構,為避免模具尺寸太大,綜合考慮后,采取一模一腔布局較為合適,澆注系統選用熱流道兩點式成型方式,模具為單分型面注射模。澆注位置依據圖3模流分析結果并結合模具結構設置要求來協調處理得到[8],最終澆注系統設計如圖4所示。

圖 3 澆口位置分析圖

圖 4 澆注系統設計

2.3 側向抽芯機構設計
N2滑塊的側抽芯結構相對簡單,常規的斜導柱側滑塊機構即可滿足要求。N1,N3,N5,N6的滑塊機構因一次抽芯無法實現制品前端斜槽、內側通氣孔特征的抽出,且用以成型Y 方向的兩個風口的側抽芯距離較長,成型面積較大,最終均采用一種斜導柱液壓組合式二次抽出結構,以完成制品脫模。而N4,N7的滑塊機構因一次抽芯無法實現制品兩個側面上與X軸存在角度的盲孔螺柱位、接插位特征的抽出,且抽芯距較小,最終均采用一種在滑塊中設計滑塊的二次抽出結構即可完成制品脫?!,F針對其中N5,N6,N7的滑塊機構進行詳細介紹。

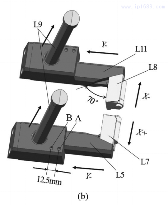
(1) 斜導柱液壓組合式二次抽芯結構。
采用一種斜導柱液壓組合式二次抽芯結構來成型汽車空調出風口殼體的特征15內側通氣孔,其結構示意圖見圖5。其中,側滑塊的具體連接為N5,N6滑塊緊固在滑座Ⅰ上,二次側抽滑塊Ⅰ嵌在N5滑塊內,二次側抽滑塊Ⅱ嵌在N6滑塊內,側抽滑塊Ⅰ、側抽滑塊Ⅱ嵌在滑座Ⅰ內,且側抽滑塊Ⅰ和Ⅱ分別與二次側抽滑塊Ⅰ和Ⅱ采用燕尾槽配合,配合角度為70°。經測量內側通氣孔深度為2.5mm,為保證塑件順利脫模,需加上2~3mm的安全距離[9],經計算取整得側抽滑塊的一次抽芯距為12.5mm。

抽芯機構工作原理如下:當模腔打開時,N2滑塊、N5滑塊、滑座Ⅰ固定不動,定模側斜導柱Ⅰ驅動側抽滑塊Ⅰ和Ⅱ在滑座Ⅰ中沿Y軸負向滑動,由于N5滑塊、N6滑塊的限制作用,二次側抽滑塊Ⅰ在側抽滑塊Ⅰ帶動下只能沿X 軸正向運動,二次側抽滑塊Ⅱ在側抽滑塊Ⅱ帶動下只能沿X 軸負向運動,當側抽滑塊Ⅰ和Ⅱ由位置A運動到位置B時,內側通孔的一次抽芯動作完成。同時,斜導柱Ⅰ完全脫離側抽滑塊Ⅰ和Ⅱ,定模側頂鎖與B位置頂鎖孔接觸阻止側抽滑塊Ⅰ和Ⅱ與滑座Ⅰ的再次相對滑動。之后在液壓油缸Ⅰ的帶動下,整個側滑塊沿Y軸負向運動84.5mm,擋塊Ⅰ碰到行程開關Ⅰ觸電位置,液壓油缸Ⅰ停止運轉,二次抽芯動作完成。

(2) 滑塊中設計滑塊的二次抽芯結構。
采用一種滑塊中設計滑塊的二次抽芯結構,來成型汽車空調出風口殼體的盲孔螺柱位、接插薄壁、吸氣通孔,結構示意圖見圖6。


2.3 側向抽芯機構設計
N2滑塊的側抽芯結構相對簡單,常規的斜導柱側滑塊機構即可滿足要求。N1,N3,N5,N6的滑塊機構因一次抽芯無法實現制品前端斜槽、內側通氣孔特征的抽出,且用以成型Y 方向的兩個風口的側抽芯距離較長,成型面積較大,最終均采用一種斜導柱液壓組合式二次抽出結構,以完成制品脫模。而N4,N7的滑塊機構因一次抽芯無法實現制品兩個側面上與X軸存在角度的盲孔螺柱位、接插位特征的抽出,且抽芯距較小,最終均采用一種在滑塊中設計滑塊的二次抽出結構即可完成制品脫模?,F針對其中N5,N6,N7的滑塊機構進行詳細介紹。

(1) 斜導柱液壓組合式二次抽芯結構。
采用一種斜導柱液壓組合式二次抽芯結構來成型汽車空調出風口殼體的特征15內側通氣孔,其結構示意圖見圖5。其中,側滑塊的具體連接為N5,N6滑塊緊固在滑座Ⅰ上,二次側抽滑塊Ⅰ嵌在N5滑塊內,二次側抽滑塊Ⅱ嵌在N6滑塊內,側抽滑塊Ⅰ、側抽滑塊Ⅱ嵌在滑座Ⅰ內,且側抽滑塊Ⅰ和Ⅱ分別與二次側抽滑塊Ⅰ和Ⅱ采用燕尾槽配合,配合角度為70°。經測量內側通氣孔深度為2.5mm,為保證塑件順利脫模,需加上2~3mm的安全距離[9],經計算取整得側抽滑塊的一次抽芯距為12.5mm。

抽芯機構工作原理如下:當模腔打開時,N2滑塊、N5滑塊、滑座Ⅰ固定不動,定模側斜導柱Ⅰ驅動側抽滑塊Ⅰ和Ⅱ在滑座Ⅰ中沿Y軸負向滑動,由于N5滑塊、N6滑塊的限制作用,二次側抽滑塊Ⅰ在側抽滑塊Ⅰ帶動下只能沿X 軸正向運動,二次側抽滑塊Ⅱ在側抽滑塊Ⅱ帶動下只能沿X 軸負向運動,當側抽滑塊Ⅰ和Ⅱ由位置A運動到位置B時,內側通孔的一次抽芯動作完成。同時,斜導柱Ⅰ完全脫離側抽滑塊Ⅰ和Ⅱ,定模側頂鎖與B位置頂鎖孔接觸阻止側抽滑塊Ⅰ和Ⅱ與滑座Ⅰ的再次相對滑動。之后在液壓油缸Ⅰ的帶動下,整個側滑塊沿Y軸負向運動84.5mm,擋塊Ⅰ碰到行程開關Ⅰ觸電位置,液壓油缸Ⅰ停止運轉,二次抽芯動作完成。

(2) 滑塊中設計滑塊的二次抽芯結構。
采用一種滑塊中設計滑塊的二次抽芯結構,來成型汽車空調出風口殼體的盲孔螺柱位、接插薄壁、吸氣通孔,結構示意圖見圖6。

圖 5 斜導柱液壓組合式二次抽芯結構
圖 5 斜導柱液壓組合式二次抽芯結構2
 
為便于表達內部結構,在圖6b中隱去N7滑塊,并對滑座Ⅱ做透視處理。其中側滑塊的具體連接為M2鑲針嵌在鑲塊內,M5和M6鑲針嵌在二次抽芯小滑塊Ⅰ內,鑲塊嵌在N7滑塊內,二次抽芯小滑塊Ⅰ嵌在滑座Ⅱ內,且二次抽芯小滑塊Ⅰ上有與安裝在滑座Ⅱ上的銷釘配合的插槽。二次抽芯小滑塊Ⅰ的抽芯距應滿足盲孔螺柱位、接插位側型芯中最大的一個,考慮安全距離后,計算取整得抽芯距離為13mm。

抽芯機構的工作原理如下:當模腔打開時,定模側斜導柱Ⅲ首先驅動二次抽芯小滑塊Ⅰ在滑座Ⅱ中沿K方向滑動13mm,滑動距離由安裝在滑座Ⅱ上的銷釘保證。當滑座Ⅱ上的銷釘由C位置移動到D位置時,斜導柱Ⅲ接觸到滑座Ⅱ,定模側頂鎖Ⅱ與頂鎖孔接觸阻止二次抽芯小滑塊Ⅰ與滑座Ⅱ的再次相對滑動。之后在斜導柱Ⅱ和斜導柱Ⅲ共同驅動下,整個側滑塊沿X 軸負向移動43mm時,斜導柱Ⅱ和Ⅲ完全脫離滑座Ⅱ,動模側頂鎖Ⅰ與頂鎖孔接觸阻止滑座Ⅱ滑動,二次抽芯動作完成。

2.4 冷卻水道設計
在模具內設置冷卻系統是控制模溫的有效措施。合理的冷卻系統能夠實現塑件的迅速脫模,進一步提高塑件的定型質量和生產效率[10]。由于該套模具采用了熱流道系統,并且側抽滑塊較長,為保證塑件的均勻冷卻,除應在型腔、型芯側設有冷卻水路外,熱流道熱嘴處、側抽滑塊內部也應設有專門的冷卻水路。綜合本套模具結構,熱流道熱嘴處設置了1條冷卻水路,在型腔設置了2條,型芯設置了2條,側抽滑塊設置了2條,共7條冷卻水路,其位置布置方式如圖7所示,進水口為IN,出水口為OUT,非進出口用螺塞堵住,水路直徑均為10mm,以實現對塑件的均勻充分冷卻。

圖 7 冷卻水路設計圖 7 冷卻水路設計2
 
2.5 頂出機構設計
頂出機構是注塑模的重要組成部分,它由一系列頂出零件和輔助零件組成,可以具有不同的頂出動作。頂出零件應有足夠的強度、剛度、硬度用以克服制品與模具之間的摩擦力,并且頂出機構的設計應盡量結構簡單,降低模具的制造成本。為滿足要求,該模具的頂出零件材質均選用SKD61模具鋼,并進行氮化處理增加其耐磨性。共設有6根Φ6mm的圓頂針、9根Φ8mm的圓頂針、1根Φ5mm的圓頂針和1個厚度為11mm、角度為5° 的斜頂同時推出塑件,如圖8所示。

圖 8 頂出機構設計

2.6 模具三維裝配圖
通過上述設計與分析,利用UG10.0設計軟件完成的該套模具的三維結構見圖9。
圖 9 模具三維結構圖圖 9 模具三維結構圖2

根據給定的注塑機參數及規格,最終選擇的模架幅面尺寸為700 mm×550 mm×657mm。模具結構見圖10。

模具的基本工作過程如下:注射時,通過熱流道系統對模腔進行填充,高溫熔體通過點澆口進入模腔,保壓冷卻之后開模。依靠開模力,斜導柱首先驅動側抽滑塊、二次抽芯小滑塊完成圖1中盲孔螺柱位、接插位、斜槽、內側通氣孔等特征的一次抽芯動作。隨后,N4,N7方向上的斜導柱接觸到滑座,斜導柱驅動二次抽芯開始,過程如圖6的設計分析所示,N1,N2,N3,N5,N6方向上的斜導柱完全脫離滑座,液壓油缸驅動二次抽芯開始,過程如圖5的設計分析所示。抽芯完成后,注塑機頂桿推動推桿固定板,從而驅動頂針、斜頂完成注塑件的頂出。合模時,液壓油缸先驅動N1,N2,N3,N5,N6 方向上的滑座復位,之后模具閉合,頂出機構由復位桿實現復位,由斜導柱驅動滑座完成最終復位合模,準備下一次成型。
圖片1

04 結語
汽車空調出風口殼體的結構復雜,不利于脫模,首先對其側抽芯進行分區設計。綜合考慮產品外形尺寸、模具結構等影響因素,采取一模一腔布局設置,澆注系統選用熱流道兩點式成型方式成型。為保證產品順利脫模,針對產品局部特征設有斜導柱液壓組合式二次抽芯結構和滑塊中設計滑塊的二次抽芯機構。經實踐檢驗,模具運行過程穩定可靠,成型的制品質量良好,為同類產品的模具設計提供了一定的有益借鑒。

參考文獻
[1] 陳黎明,熊建武,沈忠良 . 內壁六面包圍框形塑料件脫模機構及模具設計[J].工程塑料應用,2019,47(9):87–93.
[2] 許傲,黃力 . 醫用接插頭前模四面抽芯脫模注塑模具設計[J].塑料,2017,46(2):110–113.
[3] 黃力 . 側向與斜向二次抽芯注射模設計[J].模具工業,2011(7):47–49.
[4] 趙戰鋒 . 汽車中央扶手主殼脫模機構及熱流道注塑模具設計[J].工程塑料應用,2019,47(1):82–87.
[5] 黃繼戰,陳煒,范玉 . 氣缸感應開關殼體注塑模具設計[J].工程塑料應用,2019,47(12):79–85.
[6] 楊軍,曾霞文,王雪紅,等 . 煙花塑料底座多向斜抽芯注射模設計[J]. 模具工業,2016,42(12):45–47.
[7] 張建卿 . 汽車送風機前罩殼多行位注塑模具設計[J]. 塑料,2016,45(3):112–116.
[8] 肖國華,程方啟,盧星星,等 . 汽車后視鏡面殼熱流道二次側抽芯滑塊模具結構設計[J]. 工程塑料應用,2014,42(10):79–83.
[9] 閔志宇,石念峰,張杰,等 . 帶復雜曲面結構手機夾注塑模具設計[J]. 工程塑料應用,2017,45(4):83–86.
[10] 孫肖霞 . 冰箱門把手注塑模具設計[J]. 制造技術與機床,2017(5):32–34.