您當前的位置:首頁 >> 技術 >> 管材與型材擠出 » 正文
不等壁厚U形波紋管的軸向剛度研究
  瀏覽次數:10019  發布時間:2020年08月03日 17:15:55
[導讀] 采用有限元方法對采用不等壁厚設計的無加強U形波紋管軸向剛度進行了非線性分析,并進行了軸向剛度試驗,將試驗結果、有限元分析結果與推導出的工程經驗剛度計算公式進行了對比,驗證了有限元分析和工程公式的可應用性,為不等壁厚波紋管的設計開發提供了支持。
 占豐朝1,2,張小文1,2,閆廷來1,2
1.洛陽雙瑞特種裝備有限公司,河南洛陽  471001;2.洛陽船舶材料研究所,河南洛陽  471023

摘 要:采用有限元方法對采用不等壁厚設計的無加強U形波紋管軸向剛度進行了非線性分析,并進行了軸向剛度試驗,將試驗結果、有限元分析結果與推導出的工程經驗剛度計算公式進行了對比,驗證了有限元分析和工程公式的可應用性,為不等壁厚波紋管的設計開發提供了支持。
關鍵詞:不等壁厚;波紋管;有限元;剛度

波紋管是一種具有補償位移作用的彈性元件,廣泛應用于化工、供熱、航天、電力等領域。按波紋管管壁的層數,可分為單層波紋管和多層波紋管。在總厚度相同情況下,多層波紋管相對于單層波紋管具有剛度小、補償量大、疲勞壽命長等特點,得到了廣泛的應用。隨著使用工況的嚴苛,為提高波紋管的耐腐蝕、耐壓與高疲勞壽命等綜合性能,設計出一種在波紋管接觸環境介質側襯一層高耐蝕合金(如Incoloy825、Incoloy800等)的波紋管,并已在熱力、化工產品上有所應用。EJMA—2015《膨脹節制造商協會標準》第9章中對于多層波紋管的應用時指出為了適應管道內外不同的環境,在設計波紋管時允許使用不同的材料制作波紋管的內層和外層,用一層來防腐蝕,其他各層采用價格較為低廉的材料制作;GB/T12777—2019《金屬波紋管膨脹節通用技術條件》[1]的5.4.3條給出了不同材料組合的多層波紋管設計溫度下的許用應力計算公式。但是針對不等壁厚波紋管的應力計算、剛度計算及性能分析,較少有相關研究。

本文主要通過試驗驗證和有限元分析來對襯層設計方案的不等壁厚U形波紋管的軸向剛進行研究,以期更好地掌握不等壁厚U形波紋管的軸向剛度,為不等壁厚波紋管的設計開發奠定基礎。
01 剛度設計公式

GB/T12777—2019中對于無加強U形波紋管的單波軸向剛度計算公式如式(1)所示。
式1

式中各符號意義同GB/T12777—2019[1]。其中n是波紋管的層數,此公式主要適用于各層壁厚相等的多層波紋管的剛度計算,當各層壁厚不相等時,基于并聯彈簧剛度疊加原理,并參考等壁厚波紋管剛度計算公式得到不等壁厚波紋管軸向剛度計算公式如式(2)所示:
式2
采用式(2)計算得到的不等壁厚波紋管的剛度數值是否能較好評估不等壁厚波紋管的軸向剛度性能,下文通過有限元分析和剛度試驗做進一步驗證。

02 有限元分析
2.1 有限元模型和邊界條件
針對不等壁厚U形波紋管的軸向剛度性能已有多位學者進行過研究,研究結果表明采用有限元分析方法來研究波紋管的剛度性能是可行的,下文通過有限元分析軟件ANSYS Workbench對不等壁厚波紋管的軸向剛度進行分析[2]。

兩種不等壁厚方案的波紋管設計參數如表1所示??紤]到后期試驗驗證成本,這里所襯層波紋管的材質選擇跟基層波紋管的材質一樣,為耐點蝕性能較好的316L。兩種方案不同之處僅在于所襯層的波紋管厚度不同,件號1試驗件所襯的一層波紋管厚度為0.5mm,件號2試驗件所襯的一層波紋管厚度為1.0mm,基層波紋管厚度均為2.0mm,兩個試驗件的波高、波距、波根直徑等其他參數保持一致。

表1

采用Solidworks軟件建立波紋管的三維模型,由于波紋管是軸對稱結構,為了減少計算量提高計算效率,這里只建立波紋管的1/4模型,然后將模型導入到ANSYS Workbench中進行分析??紤]到六面體網格可以減少單元數量,加快求解收斂,這里通過掃掠方法生成六面體網格,劃分網格后的模型如圖1所示。通過查看單元詳細信息可以發現模型采用的單元類型對應的名字為Mesh200,這是一個特殊單元類型,并不參與實際的計算,由其對應的Abaqus單元類型名字C3D20,可知相應的有限元單元為Solid 186單元,是一個高階3維20節點固體結構單元,該單元支持大變形、應力強化、塑性等非線性參數,能夠較好模擬非線性行為,因此可以作為非線性分析的有限元單元類型[3]。
圖 1  波紋管有限元模型

300系成型態波紋管的屈服強度與減薄率有關,不同減薄率下成型態波紋管的屈服強度按照如下公式計算[4]。
式3-4
式5

根據表1中波紋管的基本參數,可以得到成型態波紋管材料的屈服強度,成型態波紋管材料的性能參數如表2所示。

表2
 
波紋管的剛度分析采用的邊界條件為一端固支,另一端施加位移載荷。多層波紋管的非線性分析除了考慮材料的非線性行為,還涉及幾何非線性和接觸非線性。幾何非線性通過打開大變形開關來實現,而接觸非線性通過設置層與層之間的接觸方式來實現,根據現有文獻研究波紋管層與層之間比較合適的接觸參數可設置為:層間間隙取0.1,法向接觸剛度系數取0.1,層間摩擦系數取0.12,通過上述參數的設定來進行非線性分析[5]。

03 剛度試驗
為了更好地了解無加強U形波紋管在不等壁厚設計方案下的剛度性能,同時對有限元分析和理論公式計算的結果進行驗證,進行了兩種設計方案下波紋管的軸向剛度試驗。

3.1 試驗裝置
對于無加強U形波紋管的剛度試驗,按GB/T12777—2019規定,實測剛度一般在無壓力狀態下進行測量,試驗前要求波紋管以自由長度置于試驗裝置內,試驗時通過一端固支,另一端施加軸向位移,到力與位移的曲線,由最終的力除以最大位移得到波紋管的實測剛度。
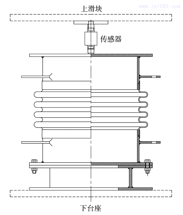
試驗裝置如圖2所示,試驗時膨脹節一端固定在試驗底座上,底座固定在100T波紋管液壓試驗機底盤上,另一端通過拉壓傳感器與試驗機上滑塊連接,采用液壓試驗機對試驗件施加位移,在試驗件上方對稱的兩個位置各放置一個百分表來記錄試驗過程中的位移量,通過拉壓傳感器測量出波紋管的彈性反力反饋給稱量顯示儀。
圖 2  剛度試驗

3.2 試驗方法
試驗時注意保證傳感器位于試驗件上方中心,為了便于與有限元分析結果作對比,加載過程采用與有限元分析相同的過程,即加載位移為每次增加5mm直至加載至波紋管的設計補償位移40mm,穩定后記錄百分表數值和記錄儀讀數,由此得到一組力與位移的曲線,為了使試驗數據更有說服力,每個設計方案的試驗件進行3次測量[6],同時為了更好了解不等壁厚波紋管的軸向剛度性能,分別進行了拉伸位移和壓縮位移時的軸向剛度測試。

04 結果分析
兩種設計方案下的試驗件測量所得力與位移關系分別如下圖3所示,其中圖3a所示為內部襯層為0.5mm時,在逐步拉伸到設計補償位移40mm得到的力與位移關系曲線圖,圖3b為內部襯層為1.0mm時在逐步拉伸到設計補償位移40mm得到的力與位移關系曲線圖,從圖中可以看出,隨著位移增大,力逐漸增大,力與位移基本成線性關系。
圖 3  力與位移曲線(拉伸試驗)1圖 3  力與位移曲線(拉伸試驗)2

圖4為兩個試驗件在壓縮到設計位移40mm過程中的力與位移關系曲線。從圖4中可以看到,壓縮時波紋管的力和位移的關系為非線 性,從曲線斜率可以看出壓縮過程中剛度逐漸減小,此現象與壓縮時波紋管的層與層之間作用力增大有關,所襯層的厚度不影響壓縮時力與位移變化趨勢。
圖 4  力與位移曲線(壓縮試驗)1圖 4  力與位移曲線(壓縮試驗)2

對拉伸得到的實測剛度值和理論剛度值進行對比,結果如表3所示,從表中可以看出理論計算剛度和實測剛度較接近,偏差最大不到20%,由于試驗測試時無法保證試驗件整體的垂直度,測量剛度值應比實際剛度值偏大,按此原則實際剛度值和理論計算值的偏差會進一步縮小,因此可認為不等壁厚設計時可以按疊加原則進行總的剛度計算,按文中給出的剛度計算公式可以指導工程應用。

表 3  理論剛度和實測剛度對比

圖5為兩個試驗件通過試驗和有限元分析所得到的拉伸到設計位移40mm時力和位移關系對比曲線,其中試驗數值為三次試驗平均值,從圖中可以看到拉伸時有限元分析得到的力和位移的關系與試驗測試得到的變化趨勢接近。

圖 5  拉伸時試驗測試與有限元計算的力與位移曲線1圖 5  拉伸時試驗測試與有限元計算的力與位移曲線2

圖6為兩個試驗件通過試驗和有限元分析所得到的壓縮到設計位移40mm時力和位移關系對比曲線,試驗數值為三次試驗平均值,從圖中可以看到壓縮時有限元得到的力和位移的關系跟試驗測試得到的變化趨勢接近,均為非線性,曲線的斜率逐漸減小。
圖 6  壓縮時試驗測試與有限元計算的力與位移曲線1圖 6  壓縮時試驗測試與有限元計算的力與位移曲線2

將拉伸時分別經過有限元軟件分析計算、理論公式計算及試驗測試得到的實測剛度平均值進行對比,對比結果如表4所示,序號1為襯層0.5mm的設計方案,序號2為襯層1.0mm的設計方案,兩種設計方案下有限元分析得到的剛度值與實測計算剛度值最大偏差10.4%,相比較于推導出的理論公式計算得到的剛度值更接近實測剛度值,這應與有限元分析時考慮了層與層之間的作用有關,襯層壁厚的增加會使層間作用力增大,因此可以認為采用有限元分析方法來計算不等壁厚波紋管的剛度是可行的,可以一定程度減少試驗的數量。

表 4  理論計算剛度、有限元分析剛度和實測剛度對比

05 結論
通過對不等壁厚U形波紋管進行軸向剛度的試驗測試和有限元分析,得出以下結論:
(1)采用文中所示公式對多層不等壁厚U形波紋管的軸向剛度值進行計算分析,計算所得剛度值有較好的精度,但是仍然存在一定偏差,后期可以通過積累更多的不等壁厚波紋管剛度試驗結果對計算公式進行修正。

(2)不等壁厚波紋管的剛度進行有限元分析時,在考慮材料非線性和幾何非線性的情況下得到的數值與理論值和實測值均接近,通過有限元分析來計算不等壁厚波紋管的剛度是可行的,在對剛度計算值精度要求不高的場合可以進行計算和使用。

本文僅針對兩層不等厚度波紋管的軸向剛度進行了分析,多層波紋管在實際使用中,為了滿足使用要求經常會采用多于兩層的設計,而層數增多時對于有限元分析會涉及更多約束和邊界條件,帶來的計算結果準確度還有待進一步研究。
符號說明
fi——波紋管單波軸向彈性剛度,N/mm;
Eb——室溫下波紋管的彈性模量,MPa;
Ebt——設計溫度下波紋管的彈性模量,MPa;
δmi——波紋管成形后一層材料的名義厚度,mm;
δ——波紋管一層材料的名義厚度的數值,mm;
Cf——U形波紋管σ5的計算修正系數;
Dm——波紋管平均直徑,mm;
Db——波紋管直邊段內徑,mm;
Rp0.2——材料的屈服強度,MPa。

參考文獻
[1]GB/T12777—2019,金屬波紋管膨脹節通用技術條件[S].
[2]王帥,王建軍,李楚林等.考慮層間摩擦的多層波紋管軸向剛度非線性有限元分析[J].壓力容器,2007,24(12):12-15.
[3]王斌斌.多層波紋管性能的數值分析[C].中國壓力容器學會膨脹節委員會.第十五屆全國膨脹節學術會議論文集.中國壓力容器學會膨脹節委員會.中國機械工程學會壓力容器分會,2018:114-124.
[4]陳曄.波紋管的平面穩定性研究[D].南京:南京工業大學博士論文,2011.
[5]李杰,段玫.多層波紋管接觸分析及穩定性屈曲分析[J].材料開發與應用,2011,26(6):53-57.
[6]劉巖,段玫.蝶形金屬波紋管的軸向剛度研究[J].壓力容器,2007,24(1):8-11.